服務熱線
13585316998

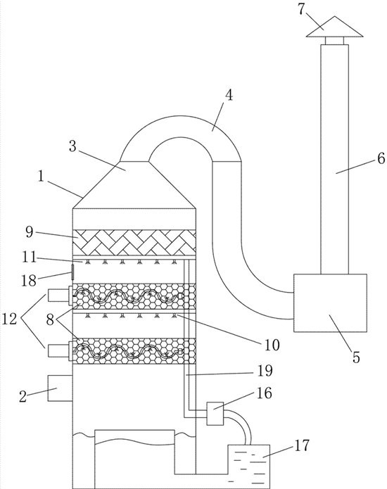
噴淋塔廢氣處理設備
一、廢氣洗滌塔工作原理
洗滌塔又稱噴淋塔,由塔體,塔板,再沸器,冷凝器四個部分組成。洗滌塔是進行粗分離的設備,所以塔板數量一般較少,通常不會超過十級。洗滌塔適用于含有少量粉塵的混合氣體的分離,各組分不會發生反應,且產物容易液化,粉塵等雜質不易液化或凝固。
當混合氣從洗滌塔中部通入洗滌塔,由于塔板間存在產物組分液體,產物組分氣體液化的同時蒸發部分,而雜質由于不能被液化或凝固,當通過有液體存在的塔板時將會被產物組分液體固定下來,產生洗滌作用,洗滌塔就是根據這一原理設計和制造的。

洗滌塔原理主要是根據臭氣的成分利用強酸(硫酸)、強堿(氫氧化鈉)、強氧化劑(次氯酸鈉)作為洗滌噴淋溶液與氣體中的臭氣分子發生接觸,使氣相的臭味成分轉移至液相,并借助化學藥劑與臭味成分中和、氧化反應去除臭味物質。
常用的洗滌設備為填充塔,化學吸收液從塔頂往下噴淋,廢氣向上流,臭氣與吸收液充分接觸、反應從而被去除。吸收液與廢氣流量比例(液/氣比)一般為1-3 L/m3,填料高度一般為2-5米,氣體空塔流速一般為0.5-1米/秒。操作良好的填充塔,除臭效果可達到90%以上。

洗滌塔結構圖
二、廢氣洗滌塔常用的化學吸收劑
1)堿性溶液
堿性吸收液常用含有1%~10%的氫氧化鈉溶液,對消除硫化氫廢氣效果顯著,其它如甲硫醇、硫化甲基、二硫化甲基、低級脂肪酸等經常在廢水處理場造成臭味的物質,處理效果也很顯著。
2)酸性溶液
酸液洗滌主要用于消除由氨、三甲胺等堿性氣體所致臭味,一般使用硫酸 (0.5%-5%的溶液)作為洗滌液。
3)次氯酸鈉溶液
次氯酸鈉一般與酸堿性吸收液一起使用,對于其它方法很難消除的硫化甲基,使用次氯酸鈉吸收液的控制效果甚佳。
處理高濃度臭氣時,次氯酸鈉溶液濃度 (有效氯濃度) 約為500~2000 ppm;而處理較低濃度臭氣時,使用次氯酸鈉溶液濃度約50~500 ppm。以各項氧化劑的性能而言,次氯酸鈉最便宜,處理效果好,所以使用廣泛。在溶液中的次氯酸鈉以次氯酸 (HOCl)形式存在:NaOCl+ H2O→HOCl+ NaOH
在pH=7.5,次氯酸鹽溶液的有效氯以50% HOCI和次氯酸根離子(OCl-)存在;
在pH=l0,只有0.3%有效氯以HOCl存在;
pH=l1或12,HOCl幾乎完全解離成無用的次氯酸根離子,因此pH值控制很重。
三、廢氣洗滌塔性能特點
1)洗滌塔處理系統,價格便宜、處理方法簡單;
2)直立式結構最適用于經濟空間安裝;
3)適用于氣態及液態污染源;
4)處理單一污染源;
5) 適用于中低風量;
四、廢氣洗滌塔適用范圍
1)各種有害氣體如H2S、SOx、NOx、HCI、NH3、CI2等氣體的處理;
2)垃圾中轉站、污水處理場的除臭裝置;
3)半導體光電業的排氣處理;
4)垃圾填埋場的滲出水、貯留池廢氣處理;
5)焚化爐及工業爐等排放的廢氣處理。
常州擎鼎實驗專業承接省內外各類實驗室整體規劃設計、實驗室整體裝飾裝修、實驗室廢氣處理、實驗室氣體管路設計與施工、實驗室凈化工程等實驗室相關領域項目,是國內實驗室建造行業從毛坯房到標準化實驗室一體化交付工程總承包商。真誠對待每一個客戶,我們都會免費派遣資深設計人員上門測量,并根據現場及您的要求用專業繪圖工具繪制平面圖及立面CAD效果圖,做出您最滿意的實驗室布置方案。一次合作,一生朋友!任何時間、任何地點,無論您有任何實驗室問題,都可以聯系:13585316998 QQ:865373514 李先生。